Rivian, 배터리 ‘하부 타격 방어막’ 특허 확보… 전기 오프로더의 약점 정면 돌파

리비안이 전기 오프로드 차량의 핵심 취약점으로 꼽혀온 배터리 하부 보호에 본격적으로 손을 댔다. 리비안은 최근 미국 United States Patent and Trademark Office(USPTO)로부터 전기차 배터리 팩 하단에 장착되는 스트라이크 실드(Strike Shield) 관련 특허를 취득했다.

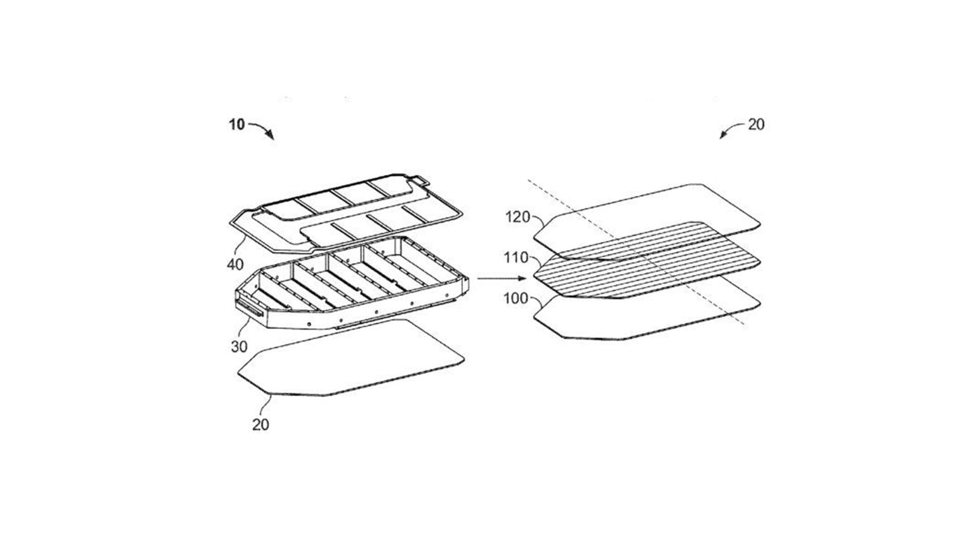
해당 특허는 배터리 팩 하부에 구조용 보호판을 부착해, 험로 주행 중 발생하는 지면 충격이나 돌출물 접촉에도 내부 배터리가 손상되지 않도록 설계된 것이 핵심이다. 단순한 스키드 플레이트를 넘어, 충격을 분산하고 구조 강성을 확보하는 역할까지 고려한 점이 특징이다.

전기 오프로더에겐 지면 충격이 최대 리스크

특허 문서에서 리비안은 “전기 오프로드 차량과 같이 험지를 자주 주행하는 차량의 경우 지면 충격을 견디는 능력이 특히 중요하다”고 명시했다. 울퉁불퉁한 노면 특성상 배터리 하부가 직접 충격을 받을 가능성이 높으며, 이로 인해 배터리 셀의 관통·압궤·구조 손상이 발생할 수 있다는 설명이다.

리비안은 해당 보호 구조를 통해 배터리 팩 내부 구성 요소가 손상되지 않도록 하는 데 초점을 맞췄다. 이 특허는 리비안 오너인 크리스 힐버트가 X(구 트위터)를 통해 처음 공개하며 업계의 주목을 받았다.

R2X 등장 가능성… 특허의 쓰임새는 명확

이번 특허는 리비안의 향후 제품 전략과도 맞닿아 있다. RJ 스캐린지 CEO는 지난 8월 인터뷰에서 차세대 중형 SUV R2를 언급하며, 오프로드 성향을 강화한 파생 모델의 가능성을 시사했다. 업계에서는 이를 R2X로 부르고 있다.

리비안은 이미 R1 시리즈를 통해 ‘전기 오프로더’라는 정체성을 구축해 왔으며, 향후 R2 라인업에서도 동일한 브랜드 DNA를 이어갈 가능성이 크다. 이번 배터리 보호 특허는 차세대 오프로드 EV의 내구성과 신뢰성을 강화하기 위한 사전 포석으로 해석된다.

테슬라와 닮은 전략… 사이버트럭 사례 떠올라

흥미로운 점은 이번 리비안 특허가 Tesla의 행보와 유사하다는 것이다. 테슬라는 지난 8월 Cybertruck을 위한 ‘테레스트리얼 아머 패키지’를 공개했다. 이 패키지에는 험로 주행 시 배터리를 보호하는 알루미늄 하부 실드와 좌우 락 슬라이더가 포함돼 있으며, 가격은 3,500달러다.

테슬라는 이미 2014년부터 배터리 보호 실드를 양산 차량에 적용해왔다. 당시 National Highway Traffic Safety Administration(NHTSA)의 조사 이후, 모델 S 화재 가능성을 낮추기 위해 약 1만6,000대 차량에 하부 보호판을 보강한 바 있다. 이후 티타늄과 알루미늄을 결합한 3중 구조 실드가 테슬라 차량의 표준 사양으로 자리 잡았다.

보호 ‘구조’에서 ‘감지’로 진화하는 배터리 안전

테슬라는 최근 배터리 인클로저의 무결성을 감지하는 시스템 특허도 추가로 확보했다. 이는 배터리 보호 실드 내부에 센서를 배치해 압력·온도 데이터를 분석하고, 누수나 파손 등 이상 징후를 감지하면 경고를 발생시키는 방식이다.

이 기술은 수심 약 32인치까지 도강이 가능한 사이버트럭의 ‘웨이드 모드’와 맞물려 의미가 크다. 리비안 역시 R1 시리즈 기준 최대 39인치 도강 성능을 강조하고 있으며, 최근 공개된 R2 테스트 영상에서도 약 30인치 수심을 통과하는 장면이 확인됐다.

전기 오프로드 경쟁, 결국 ‘배터리 보호’에서 갈린다

오프로드 전기차에서 배터리는 곧 생존과 직결되는 부품이다. 무게 중심이 낮고 차체 하부에 배치되는 구조상, 충격·수분·이물질로부터의 보호가 필수다. 리비안의 이번 특허는 단순한 기술 축적을 넘어, 전기 오프로더 시장에서의 차별화 포인트를 선점하려는 전략으로 읽힌다.

향후 R2X와 같은 신차에 해당 기술이 실제로 적용될 경우, 리비안은 ‘험로에서도 안심할 수 있는 전기차’라는 이미지를 한층 강화할 수 있을 것으로 보인다. 전기 오프로드 시장의 경쟁은 이제 출력이나 주행거리보다, 배터리를 얼마나 안전하게 지켜낼 수 있느냐로 옮겨가고 있다.

댓글 남기기