토요타(Toyota)가 플러그인 하이브리드(PHEV) 픽업트럭의 배터리 탑재 방식을 담은 특허 2건을 미국 특허청(USPTO)에 출원한 사실이 확인됐다. 출원 시점은 2025년 8월이며, 특허 문서는 올해 3월 공개됐다(특허 번호 20260061820·20260061819). 신차 출시를 예고하는 문서가 아니라 엔지니어링 문제, 즉 바디온프레임 픽업 어디에 대용량 배터리를 넣느냐에 집중한 내용이다.
미국 시장엔 아직 선택지가 없다
픽업트럭의 전동화는 이미 세계 곳곳에서 진행 중이다. 포드(Ford)는 유럽 시장에 레인저 PHEV를 내놓았고, 비야디(BYD)는 샤크(Shark) 플러그인 하이브리드 픽업을 멕시코·아시아·호주에서 팔고 있다. 닛산(Nissan)도 프런티어(Frontier) 플러그인 하이브리드 버전을 해외에 출시했다. 그러나 세계 최대 픽업 시장인 미국에서는 전동화 픽업의 선택지가 여전히 좁다. 램(Ram) REV처럼 완전 전기 픽업이나 주행거리 연장형이 논의되고 있을 뿐, 순수 PHEV 방식의 미드사이즈 픽업은 아직 없다.
토요타 역시 힐럭스(Hilux) 전기차 시험을 진행하는 등 글로벌 시장에서 픽업 전동화를 밟아가고 있지만, 미국 주력 모델인 타코마(Tacoma)는 현재 플러그인 버전이 없다. 타코마는 i-Force MAX 하이브리드 시스템을 갖추고 있지만, 외부 충전으로 배터리를 채울 수 없다는 점에서 PHEV와는 다르다.
바디온프레임의 딜레마, 배터리 공간이 없다
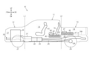
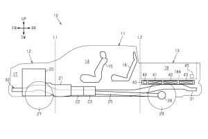
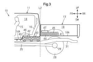
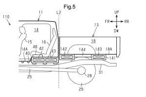
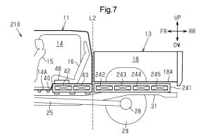
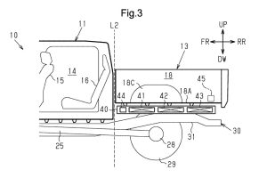
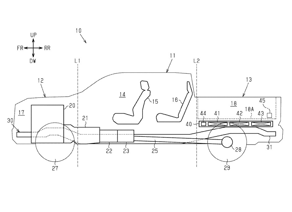
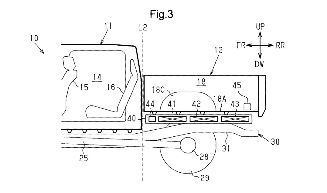
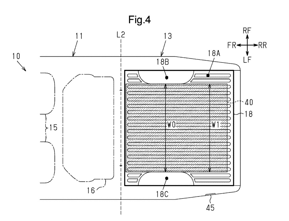
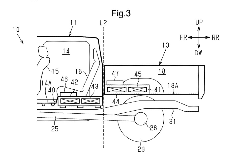
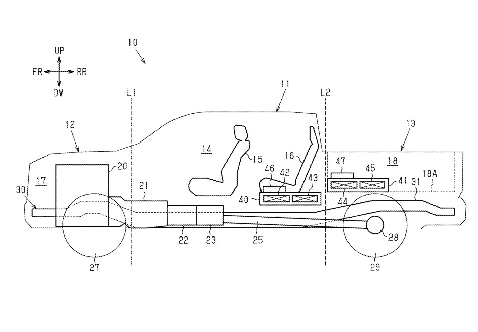
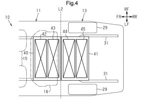
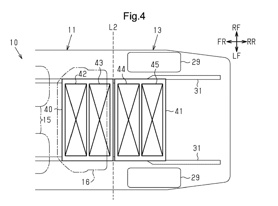
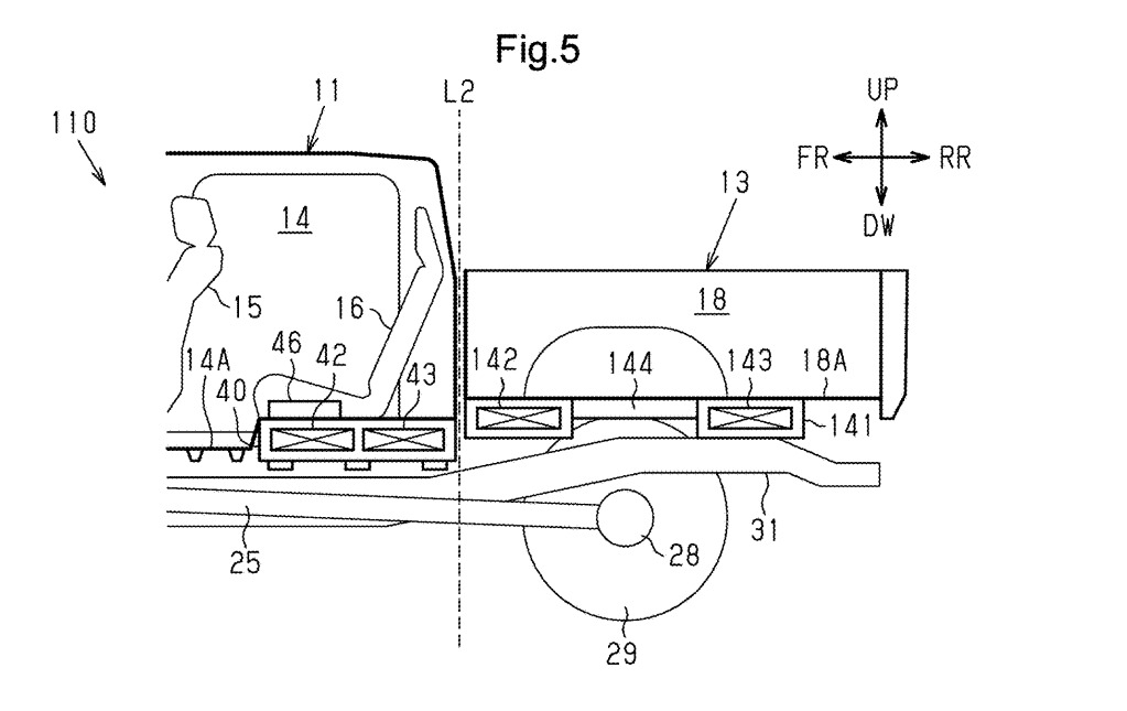
이번 특허가 풀려는 문제는 명확하다. 픽업트럭 하부는 엔진·변속기·드라이브샤프트·배기계·서스펜션이 공간을 나눠 쓴다. 승용차처럼 플로어 아래에 납작하게 배터리 팩을 깔 여지가 없다. 대용량 배터리를 넣으려면 구조를 다시 짜야 한다.
특허 한 건은 단일 배터리 팩을 화물칸 바닥 아래에 집중 배치하는 방식이다. 후륜 사이, 프레임 레일 위에 배터리를 얹는 구조로, 화물칸 바닥이 약간 높아지는 대신 캐빈 플로어는 현행 수준을 유지한다. 나머지 한 건은 배터리를 두 개로 나눈다. 하나는 뒷좌석 아래, 다른 하나는 화물칸 하부다. 무게를 차체 전후로 분산시키는 구성으로, 전체 용량은 올리면서 특정 축에 하중이 쏠리는 문제를 줄이는 접근이다. 두 방식 모두 화물칸 실용성과 캐빈 공간, 기존 구동계 배치를 그대로 유지하는 것을 전제로 설계됐다.
타코마 PHEV로 이어질까
특허 출원지가 미국이라는 점이 눈길을 끈다. 타코마와 툰드라(Tundra)를 염두에 두고 미국 시장을 겨냥한 검토라는 해석이 나오는 이유다. 미드사이즈 픽업 시장에서 타코마는 미국 내 판매 1위 자리를 오랫동안 지켜왔다. 여기에 PHEV 시스템이 얹힌다면 단거리 출퇴근은 전기로 처리하고 장거리·견인 작업에서는 가솔린 엔진을 쓰는, 픽업 구매자 입장에서 실용적인 중간 지점이 생긴다.
다만 특허가 양산을 보장하지는 않는다. 완성차 업체들은 실제 출시로 이어지지 않는 특허를 숱하게 낸다. 토요타는 현재 PHEV 픽업 계획에 대해 공식적으로 확인한 바 없다. 그러나 포드·BYD·닛산이 이미 플러그인 픽업을 해외에서 굴리고, 미국 내에서도 전동화 경쟁이 가열되는 흐름에서 나온 특허라는 점은 시사하는 바가 적지 않다. 토요타의 다음 픽업 전동화 카드가 무엇인지, 그 윤곽이 조금씩 드러나고 있다.









